Оригинальные каталоги
| № | Номер | Наименование | Цена | |
|---|---|---|---|---|
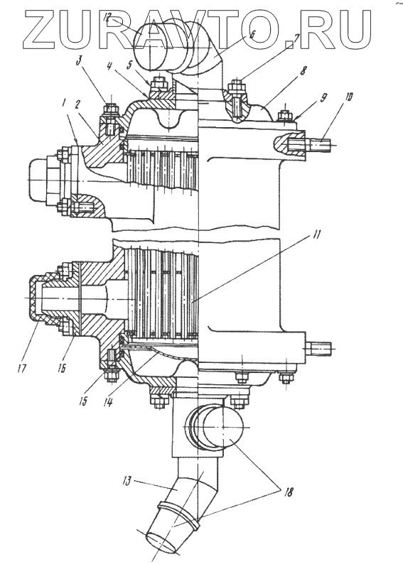
| 7427-1714013 | 7427-1714013 | Радиатор левый | Нет в продаже |
|
| 1 | 7427-1714103 | Прокладка | Нет в продаже |
|
| 2 | 7427-1714015 | Корпус радиатора | Нет в продаже |
|
| 3 | 250613-П29 | Гайка М10х1-6Н | Нет в продаже |
|
| 4 | 7427-1714102 | Прокладка | Нет в продаже |
|
| 5 | 252156-П29 | Шайба 10Л | Нет в продаже |
|
| 6 | 7427-1714095 | Патрубок радиатора | Нет в продаже |
|
| 7 | 216257-П2 | Шпилька М10х1х22 | Нет в продаже |
|
| 8 | 7427-1714094-01 | Крышка | Нет в продаже |
|
| 9 | 252006-П29 | Шайба 10 | Нет в продаже |
|
| 10 | 310463-П2 | Шпилька М12х25 | Нет в продаже |
|
| 11 | 7427-1714050 | Элемент охлаждающий | Нет в продаже |
|
| 12 | 7427-1714121 | Колпачок защитный | Нет в продаже |
|
| 13 | 7427-1714110 | Патрубок радиатора | Нет в продаже |
|
| 14 | 7427-1714090 | Сетка защитная | Нет в продаже |
|
| 15 | 155-165-46 | Кольцо ГОСТ9833-73 | Нет в продаже |
|
| 16 | 7427-1714108 | Фланец | Нет в продаже |
|
| 17 | 537-1504344-01 | Заглушка | Нет в продаже |
|
| 18 | 537-1018073 | Колпачок защитный | Нет в продаже |
|
1
2
3
4
5
6
7
8
9
10
11
12
13
14
15
16
17
18
Содержащиеся в справочниках-каталогах запасные части и детали носят исключительно информационный характер