Оригинальные каталоги
| № | Номер | Наименование | Цена | |
|---|---|---|---|---|
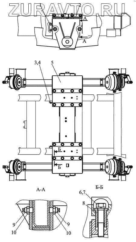
| ПМ10-2400505 | ПМ10-2400505 | Установка тележки балансирной | Нет в продаже |
|
| 1 | ПМ10-2800091 | Ограничитель | Нет в продаже |
|
| 2 | ПМ10-2800585 | Крышка | Нет в продаже |
|
| 3 | М12-6gх35.88.35.019 | Болт | Нет в продаже |
|
| 4 | 4598166068 | Шайба 12ОТ | Нет в продаже |
|
| 5 | ПМ10-2922005 | Тележка балансирная | Нет в продаже |
|
| 6 | М16-6gx80.88.35.019 | Болт | Нет в продаже |
|
| 7 | 4598166070 | Шайба 16ОТ | Нет в продаже |
|
| 8 | ПМ10-2800093 | Втулка | Нет в продаже |
|
| 9 | ПМ10-2800098 | Шпилька | Нет в продаже |
|
| 10 | М27х2-6Н.04.019 | Гайка | Нет в продаже |
|
ПМ10-2400505
1
2
3
4
5
6
7
8
9
9
10
10
Содержащиеся в справочниках-каталогах запасные части и детали носят исключительно информационный характер