Оригинальные каталоги
| № | Номер | Наименование | Цена | |
|---|---|---|---|---|
| 011101-98-1СП | 011101-98-1СП | Оборудование рыхлительное | Нет в продаже |
|
| 011101-98-1-20СП | 011101-98-1-20СП | Оборудование рыхлительное | Нет в продаже |
|
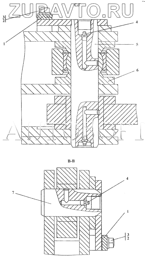
| 1 | 011101-97-2 | Планка | Нет в продаже |
|
| 1 | 011101-97-50СП | Тяга | Нет в продаже |
|
| 2 | Шайба 12 ОТ | Шайба 12 ОТ | Нет в продаже |
|
| 3 | Болт М12-6gх25 | Болт М12-6gх25 | Нет в продаже |
|
| 4 | Масленка 1.2.Ц6 | Масленка 1.2.Ц6 | Нет в продаже |
|
| 4 | Масленка 1.2.кд6Хр | Масленка 1.2.кд6Хр | Нет в продаже |
|
| 5 | 011101-97-10-02СП | Палец | Нет в продаже |
|
| 6 | 011101-97-7 | Кольцо | Нет в продаже |
|
| 7 | 011101-97-10СП | Палец | Нет в продаже |
|
| 11 | 310270-20 | Шайба 16.01.20.0221 ГОСТ 11371-78 | Нет в продаже |
|
1
1
2
2
3
3
4
4
5
6
7
Содержащиеся в справочниках-каталогах запасные части и детали носят исключительно информационный характер