Назад

Оригинальные каталоги

zoom-in zoom-out enlarge shrink circle-right circle-left file-text2 info cart
Номер Наименование Цена
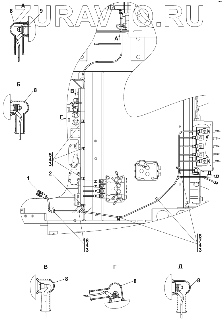
1526-10-15СП(SP) 1526-10-15СП(SP) Электрооборудование трансмиссии Нет в продаже
1 1526-10-104СП(SP) Жгут Тр Нет в продаже
1 1526-10-104-20СП(SP) Жгут Тр Нет в продаже
2 415119 Хомутик Нет в продаже
3 ГОСТ11371-78 Шайба Нет в продаже
4 ГОСТ6402-70 Шайба Нет в продаже
5 415090 Хомутик Нет в продаже
6 700-41-3179 Хомутик Нет в продаже
7 ГОСТ7796-70 Болт Нет в продаже
8 700-40-5607 Наконечник Нет в продаже
9 ТТ2501-10-9 Шайба Нет в продаже
1526-10-15СП(SP)
1
1
2
3
3
3
4
4
4
5
6
6
7
8
8
8
8
8
9
100%
Содержащиеся в справочниках-каталогах запасные части и детали носят исключительно информационный характер