Оригинальные каталоги
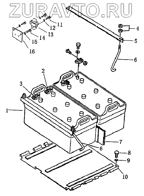
| № | Номер | Наименование | Цена | |
|---|---|---|---|---|
| 1 | D1010-18000 | Аккумулятор 12В 200AH | Нет в продаже |
|
| 2 | 08000-00000 | Клемма “+” | Нет в продаже |
|
| 3 | 08000-00001 | Клемма минусовая | Нет в продаже |
|
| 4 | 01580-11008 | Гайка | Нет в продаже |
|
| 5 | 16Y-07-19000 | Пластина нажимная | Нет в продаже |
|
| 6 | 16Y-07-00003 | Рычаг | Нет в продаже |
|
| 7 | 16Y-07-00002 | Прокладка резиновая | Нет в продаже |
|
| 8 | 01010-51230 | Болт | Нет в продаже |
|
| 9 | 01643-31232 | Шайба | Нет в продаже |
|
| 10 | 16Y-07-20000 | Панель аккумулятора нижняя | Нет в продаже |
|
| 11 | 01010-50816 | Болт | Нет в продаже |
|
| 12 | 01643-30823 | Шайба | Нет в продаже |
|
| 13 | D2601-60000 | Релейный переключатель | Нет в продаже |
|
| 14 | 01010-51016 | Болт | Нет в продаже |
|
| 15 | 01643-31032 | Шайба | Нет в продаже |
|
| 16 | 16Y-07C-12000 | Пластина | Нет в продаже |
|
1
2
3
4
5
6
6
7
8
9
10
11
12
13
14
15
16
Содержащиеся в справочниках-каталогах запасные части и детали носят исключительно информационный характер