Оригинальные каталоги
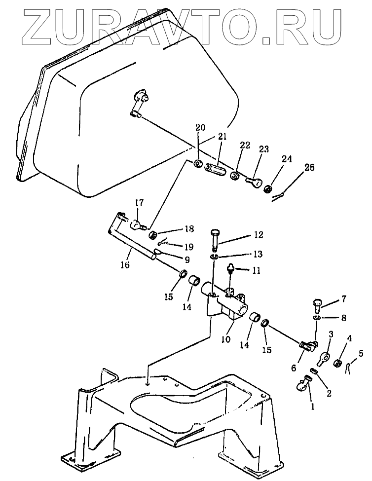
| № | Номер | Наименование | Цена | |
|---|---|---|---|---|
| 1 | 04250-51265 | Наконечник | Нет в продаже |
|
| 2 | 01582-11210 | Гайка | Нет в продаже |
|
| 3 | 04252-01269 | Наконечник | Нет в продаже |
|
| 4 | 01593-11210 | Гайка | Нет в продаже |
|
| 5 | 04050-03020 | Разводной шплинт | Нет в продаже |
|
| 6 | 154-61-16730 | Рычаг | Нет в продаже |
|
| 7 | 01010-50830 | Болт | Нет в продаже |
|
| 8 | 01602-20825 | Шайба | Нет в продаже |
|
| 9 | 04010-00519 | Стопор | Нет в продаже |
|
| 10 | 154-61-16670 | Держатель | Нет в продаже |
|
| 11 | 07020-00000 | Масленка | Нет в продаже |
|
| 12 | 01011-51010 | Болт | Нет в продаже |
|
| 13 | 01602-21030 | Шайба | Нет в продаже |
|
| 14 | GB290-HK2016 | Игольчатый подшипник | Нет в продаже |
|
| 15 | 06122-02004 | Защитное кольцо подшипника | Нет в продаже |
|
| 16 | 154-61-16740 | Рычаг | Нет в продаже |
|
| 17 | 04252-01269 | Наконечник | Нет в продаже |
|
| 18 | 01593-11210 | Гайка | Нет в продаже |
|
| 19 | 04050-03020 | Разводной шплинт | Нет в продаже |
|
| 20 | 01582-11207 | Гайка | Нет в продаже |
|
| 21 | 23Y-86B-00001 | Винт | Нет в продаже |
|
| 22 | 01508-11207 | Гайка | Нет в продаже |
|
| 23 | 04252-11269 | Наконечник | Нет в продаже |
|
| 24 | 01593-11210 | Гайка | Нет в продаже |
|
| 25 | 04050-03020 | Разводной шплинт | Нет в продаже |
|
1
2
3
4
5
6
7
8
9
10
11
12
13
14
14
15
15
16
17
18
19
20
21
22
23
24
25
Содержащиеся в справочниках-каталогах запасные части и детали носят исключительно информационный характер