Оригинальные каталоги
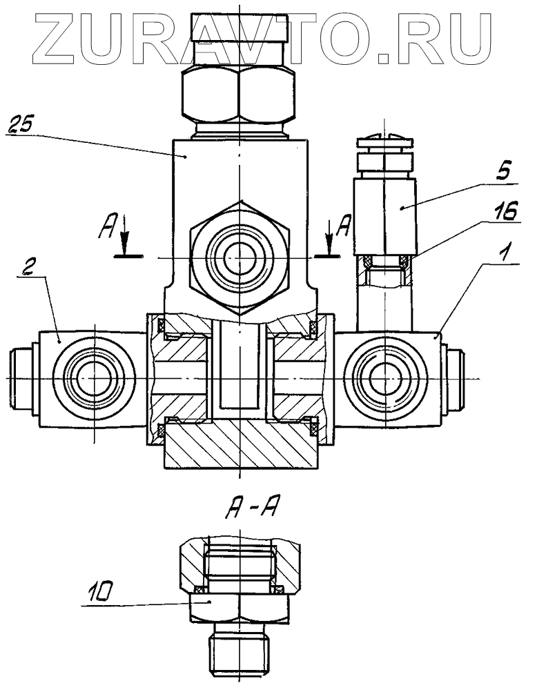
| № | Номер | Наименование | Цена | |
|---|---|---|---|---|
| 1 | 84225179017000 | Соединение поворотное | Нет в продаже |
|
| 2 | 84225179018000 | Соединение поворотное | Нет в продаже |
|
| 5 | 84225192700000 | Переходник манометра | Нет в продаже |
|
| 10 | 84225179016100 | Штуцер | Нет в продаже |
|
| 16 | 00006421005401 | Кольцо | Нет в продаже |
|
| 25 | 00010214101401 | Гидроклапан предохранительный | Нет в продаже |
|
1
2
5
10
16
25
Содержащиеся в справочниках-каталогах запасные части и детали носят исключительно информационный характер