Оригинальные каталоги
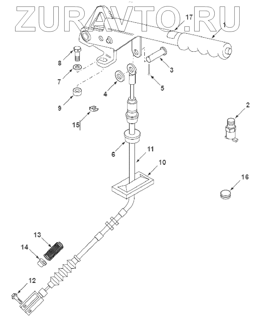
| № | Номер | Наименование | Цена | |
|---|---|---|---|---|
| 1 | 3519890M91 | Рычаг тормоза | Нет в продаже |
|
| 2 | 6107867M91 | Включатель | Нет в продаже |
|
| 3 | 376401X1 | Ось | Нет в продаже |
|
| 4 | 353756X1 | Шайба | Нет в продаже |
|
| 5 | 1442992X1 | Шпилька | Нет в продаже |
|
| 6 | 6102367M1 | Уплотнитель | Нет в продаже |
|
| 7 | 390734X1 | Шайба | Нет в продаже |
|
| 8 | 3009492X1 | Винт | Нет в продаже |
|
| 9 | 3516293M1 | Распорная втулка | Нет в продаже |
|
| 10 | 6006361 M2 | Чехол | Нет в продаже |
|
| 11 | 6107032M91 | Трос в сборе | Нет в продаже |
|
| 12 | 6107031M1 | Ось | Нет в продаже |
|
| 13 | 3518052M2 | Пружина | Нет в продаже |
|
| 14 | 3518051M1 | Пружинный фиксатор | Нет в продаже |
|
| 15 | 1696650M1 | Зажим | Нет в продаже |
|
| 16 | 3516323M1 | Уплотняющее кольцо | Нет в продаже |
|
| 17 | 3516652M1 | Наклейка стояночного тормоза | Нет в продаже |
|
1
2
3
4
5
6
7
8
9
10
11
12
13
14
15
16
17
Содержащиеся в справочниках-каталогах запасные части и детали носят исключительно информационный характер