Оригинальные каталоги
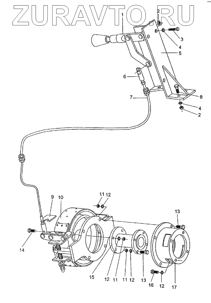
| № | Номер | Наименование | Цена | |
|---|---|---|---|---|
| 1 | ZL15E.7.2 | Рукоятка | Нет в продаже |
|
| 2 | GB6170-86 | Гайка | Нет в продаже |
|
| 3 | GB5781-86 | Болт | Нет в продаже |
|
| 4 | GB93-87 | Шайба 12 | Нет в продаже |
|
| 5 | ZL15E.7.3 | Суппорт | Нет в продаже |
|
| 6 | ZL15E.7-1 | Соединение | Нет в продаже |
|
| 7 | ZL15E.7.1 | Шланг | Нет в продаже |
|
| 8 | GB5781-86 | Болт | Нет в продаже |
|
| 9 | ZL15E.7-3 | Пластина | Нет в продаже |
|
| 10 | ZL15E.7.4 | Ручной тормоз | Нет в продаже |
|
| 11 | GB6170-86 | Гайка | Нет в продаже |
|
| 12 | GB93-87 | Шайба 12 | Нет в продаже |
|
| 13 | GB5781-86 | Болт | Нет в продаже |
|
| 14 | GB5781-86 | Болт | Нет в продаже |
|
| 15 | ZL15E.7.5 | Вал | Нет в продаже |
|
| 16 | GB5781-86 | Болт | Нет в продаже |
|
| 17 | ZL15E.7.6 | Пластина | Нет в продаже |
|
1
2
2
3
4
4
5
6
7
8
9
10
11
11
11
12
12
12
12
13
13
14
15
16
17
Содержащиеся в справочниках-каталогах запасные части и детали носят исключительно информационный характер