Назад

Оригинальные каталоги

zoom-in zoom-out enlarge shrink circle-right circle-left file-text2 info cart
Номер Наименование Цена
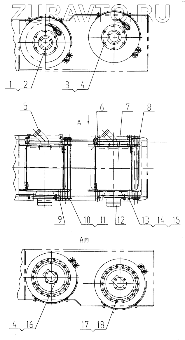
1 10410374 Bolt M6x16 Нет в продаже
2 10440002 Washer 16 Нет в продаже
3 10410510 Bolt М12х45 Нет в продаже
4 10440010 Washer 12 Нет в продаже
5 10100151 Motor Нет в продаже
6 QY16K.08.1 Protective plate Нет в продаже
7 10310083 Winch reducer Нет в продаже
8 QY16K.08-2 Shaft Нет в продаже
9 QY16K.08.3 Protective plate Нет в продаже
10 10440132 Washer 30 Нет в продаже
11 10470062 Pin 6.3x60 Нет в продаже
12 10810032 Counter Нет в продаже
13 10430004 Nut M10 Нет в продаже
14 10410038 Bolt M10x30 Нет в продаже
15 10440006 Washer 10 Нет в продаже
16 10410733 Bolt M12x40 Нет в продаже
17 10410170 Bolt M16x55 Нет в продаже
18 10440002 Washer 16 Нет в продаже
1
2
3
4
4
5
6
7
8
9
10
11
12
13
14
15
16
17
18
100%
Содержащиеся в справочниках-каталогах запасные части и детали носят исключительно информационный характер